Wyczystka Ceramiczna FI 160 + Drzwiczki antywybuchowe Kwasoodporne
Cena regularna:
towar niedostępny
dodaj do przechowalni
5
Opis
Wyczystka ceramiczna FI 160 + drzwiczki antywybuchowe kwasoorporne
⭐Zestaw proponowany jako element górnej części komina, pozwoli Ci na łatwe i bezpieczne czyszczenie komina z poziomu górnej kondygnacji, na przykład z strychu, bez konieczności wychodzenia na dach.

✅ Wyczystka
- wysokość: 66cm
- przekrój: FI 160
- waga: 17,2 kg
- klasa: A1N1 T600

✅ Służy do inspekcji i czyszczenia przewodu, to idealny sposób na usuwanie osadów i zanieczyszczeń z kominów. Ceramiczne przewody kominowe P-D Refractories A1N1 odporne na pożar sadzy (mają zastosowanie w odprowadzaniu spalin z urządzeń grzewczych opalanych paliwem stałym, gazem lub olejem opałowym w których temperatura spalin dochodzi do 600° C) Klasa A1N2, dostępna na rynku, nadaje się tylko do spalin suchych, gdzie nie występuje efekt skraplania się spalin.
✅ W połączeniu z naszymi drzwiczkami do wyczystki kwasoodpornymi antywybuchowymi, pozwala to na bezpieczne i skuteczne usuwanie osadów nawet w trudno dostępnych miejscach.


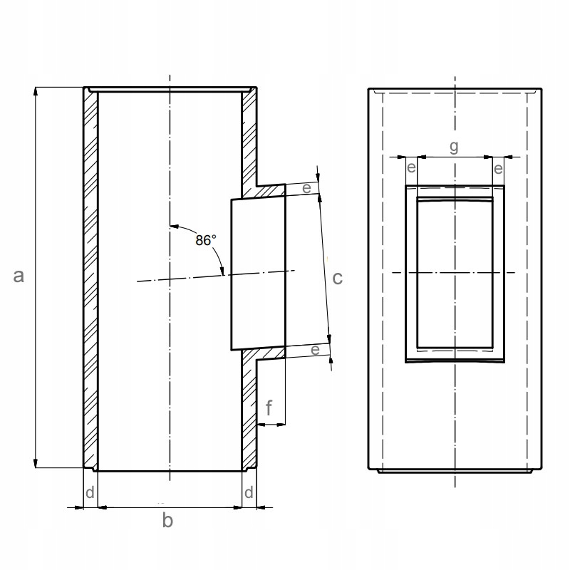
✅ Wymiary:
- a: 660mm
- b: 160mm
- c: 260mm
- d: 15mm
- e: 20mm
- f: 50mm
- g: 130mm
⭐ drzwiczki do wyczystki kwasoodporne antywybuchowe wykonane są z wysokiej jakości materiałów, które gwarantują ich trwałość i odporność na korozję oraz działanie kwasów. Ich antywybuchowe właściwości zapewniają bezpieczeństwo użytkowania, a jednocześnie pozwalają na łatwe otwieranie i zamykanie.

⭐ drzwiczki do wyczystki kwasoodporne antywybuchowe wykonane są z wysokiej jakości materiałów, które gwarantują ich trwałość i odporność na korozję oraz działanie kwasów. Ich antywybuchowe właściwości zapewniają bezpieczeństwo użytkowania, a jednocześnie pozwalają na łatwe otwieranie i zamykanie.

⭐ Dzięki zastosowaniu naszych produktów, możesz cieszyć się czystym i bezpiecznym kominem, bez konieczności wychodzenia na dach czy korzystania z niebezpiecznych metod czyszczenia.
Wyświetlane są wszystkie opinie (pozytywne i negatywne). Nie weryfikujemy, czy pochodzą one od klientów, którzy kupili dany produkt.